首页 > 新闻 > 资讯

分享到微信

打开微信,点击底部的“发现”,
使用“扫一扫”即可将网页分享至朋友圈。

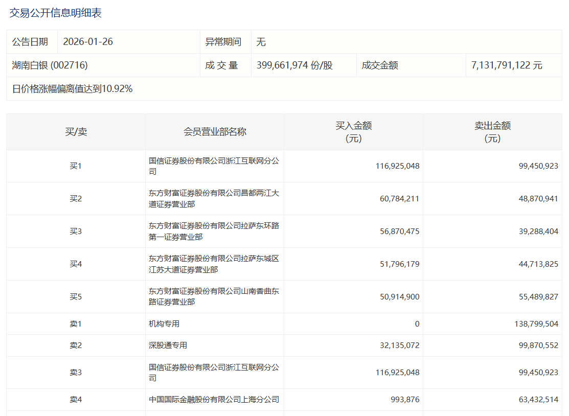
湖南白银今日涨停,有1家机构专用席位净卖出1.39亿元

第一财经 2026-01-26 16:27:01 听新闻

责编:高明妍

湖南白银今日涨停,有1家机构专用席位净卖出1.39亿元

湖南白银今日涨停,成交额71.32亿元,换手率17.19%。盘后龙虎榜数据显示,深股通专用席位买入3213.51万元并卖出9987.06万元,有1家机构专用席位净卖出1.39亿元。

举报
第一财经广告合作,请点击这里
此内容为第一财经原创,著作权归第一财经所有。未经第一财经书面授权,不得以任何方式加以使用,包括转载、摘编、复制或建立镜像。第一财经保留追究侵权者法律责任的权利。
如需获得授权请联系第一财经版权部:banquan@yicai.com
一财最热
点击关闭