
{{aisd}}
AI生成 免责声明
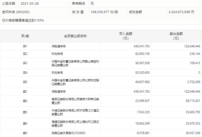
3月26日,稀土永磁板块强势,金风科技涨停,截至收盘,金风科技股价报14.64元,全天成交超24亿元。

交易所公布的盘后数据显示,金风科技获深股通买入4.37亿元并卖出1.23亿元,两机构合计买入1.38亿元。

据自然资源部今日消息,自然资源部办公厅发布关于开展2021年卫片执法工作的通知。通知明确,要强化对自然保护地、长江流域和黄河沿岸县域等重点地区、稀土等国家战略性资源重要矿种的监管,确保违法违规行为查处整改到位。
银河证券表示,政府对于国内稀土行业的重视与整改决心得到体现,在政策呵护与新能源汽车打开稀土需求空间的支持下,稀土价格在一季度有望继续强势上涨。推荐包钢股份、广晟有色、五矿稀土、盛和资源。
东北证券表示,对稀土供给侧实行强监管,行业高质量发展成大势所趋。继续看好供给不断优化、需求强劲上行的稀土板块,相关标的:盛和资源、北方稀土。