
{{aisd}}
AI生成 免责声明
新联电子晚间公告,2025年11月,公司子公司南京拓创能源服务有限公司与云南耀邦达电力工程有限公司签署《股权回购协议》,耀邦达拟回购拓创能源持有的全部股权并减少注册资本,股权回购总价款为3405.84万元,本次交易完成后,拓创能源不再持有耀邦达股权。本次交易构成关联交易,不构成重大资产重组。
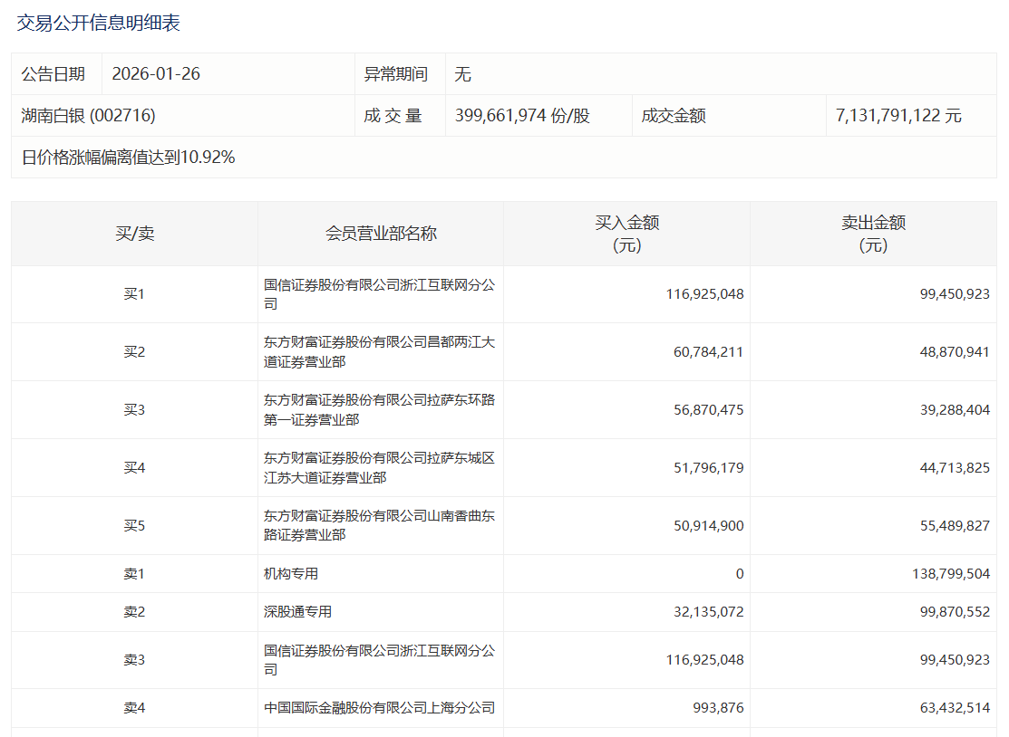
湖南白银今日涨停,有1家机构专用席位净卖出1.39亿元
关联股东同步转让股权,“独苗基”曾陷暴跌风波
2024年上半年,瑞丰达实际控制人“跑路”的消息引发各方关注,证监会关注后展开核查,并于5月11日宣布对瑞丰达进行立案调查。 第一财经曾连续刊发《瑞丰达人去楼空,近20名投资者现场维权,浦东经侦查封办公楼》、《突然“跑路”的瑞丰达:重仓新三板公司,股东一个月前接连“撤退”》《“第三方”兜底并承诺8%年收益,瑞丰达“跑路”幕后操盘手浮现》等独家深度报道,揭示了瑞丰达产品4月份就无法兑付并悄然变更股东,兜底保收益销售产品,重仓绩差新三板公司、存在高买低卖异常交易行为等情形,向市场揭示风险,提醒投资者注意防范。
利欧股份今日跌停,3家机构专用席位净买入6930.05万元
浙江世宝今日涨停 3家机构专用席位净买入9250.26万元