首页 > 新闻 > 资讯

分享到微信

打开微信,点击底部的“发现”,
使用“扫一扫”即可将网页分享至朋友圈。

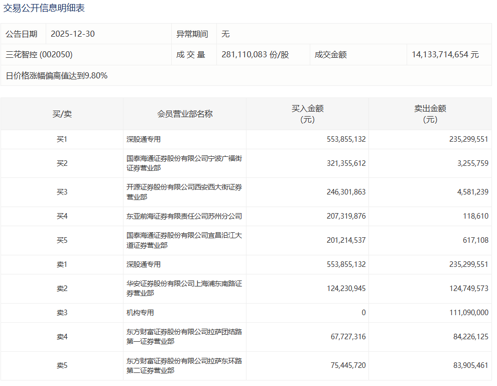
三花智控今日涨停,深股通专用席位买入5.54亿元并卖出2.35亿元

第一财经 2025-12-30 16:36:42 听新闻

责编:高明妍

三花智控今日涨停,深股通专用席位买入5.54亿元并卖出2.35亿元

三花智控今日涨停,成交额141.34亿元,换手率7.63%。盘后龙虎榜数据显示,深股通专用席位买入5.54亿元并卖出2.35亿元,有1家机构专用席位净卖出1.11亿元。

举报
第一财经广告合作,请点击这里
此内容为第一财经原创,著作权归第一财经所有。未经第一财经书面授权,不得以任何方式加以使用,包括转载、摘编、复制或建立镜像。第一财经保留追究侵权者法律责任的权利。
如需获得授权请联系第一财经版权部:banquan@yicai.com
一财最热
点击关闭