
{{aisd}}
AI生成 免责声明
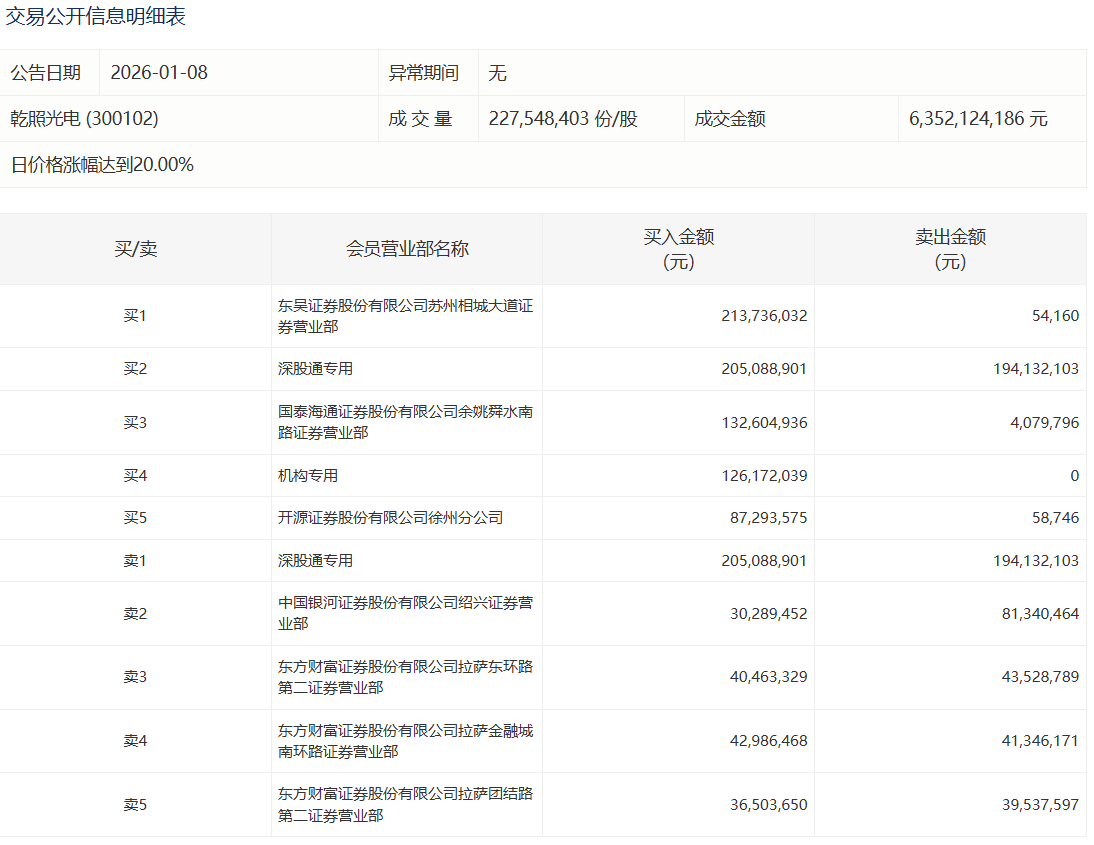
乾照光电今日20%涨停,成交额63.52亿元,换手率24.83%。盘后龙虎榜数据显示,深股通专用席位买入2.05亿元并卖出1.94亿元,1家机构专用席位净买入1.26亿元。

金风科技今日涨停,有3家机构专用席位净卖出6.92亿元
美好医疗今日20%涨停,有4家机构专用席位净卖出3.71亿元
金风科技今日涨停,有2家机构专用席位净卖出4.06亿元
海格通信今日涨停,3家机构专用席位净买入1.25亿元
蓝色光标今日20%涨停,深股通专用席位买入6.71亿元并卖出5.15亿元