打开微信,点击底部的“发现”,使用“扫一扫”即可将网页分享至朋友圈。
第一财经 2026-04-14 10:41:58
责编:江雪
{{aisd}}
AI生成 免责声明
4月14日,国泰海通旗下国泰君安创新投与工商银行旗下全资持牌AIC平台工银投资以及黄海金控集团、盐城战新专项母基金等共同签约设立国泰海通工融绿色战新(盐城)创业投资合伙企业(有限合伙)。本基金为国泰海通首支与AIC合作的基金。
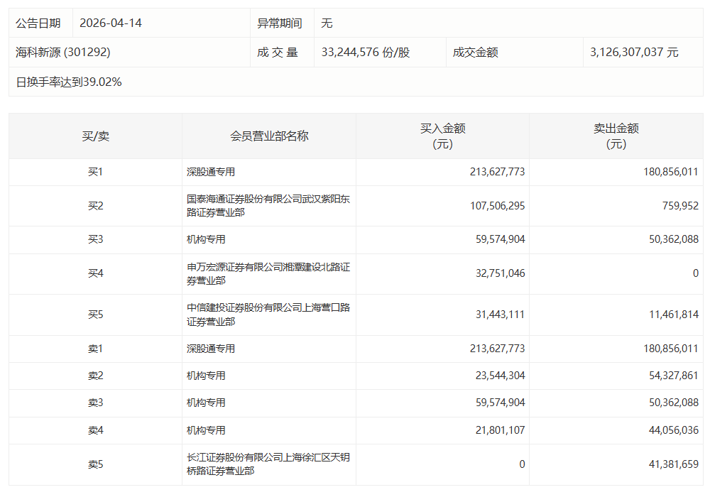
海科新源今日20cm涨停,国泰海通武汉紫阳东路净买入1.07亿元
拓维信息今日涨停,国泰海通湛江万豪世家证券营业部净买入3.41亿元
中兴通讯今日涨停,国泰海通上海中山东路大额买入
16家上市公司股票获回购,国泰海通回购金额最高
红宝丽今日涨停,国泰海通证券三亚迎宾路净买入3.57亿元