
{{aisd}}
AI生成 免责声明
煤炭板块持续拉升,大有能源涨停,陕西黑猫回封涨停,安泰集团此前涨停,郑州煤电逼近涨停,潞安环能、山西焦煤、晋控煤业均涨超6%。
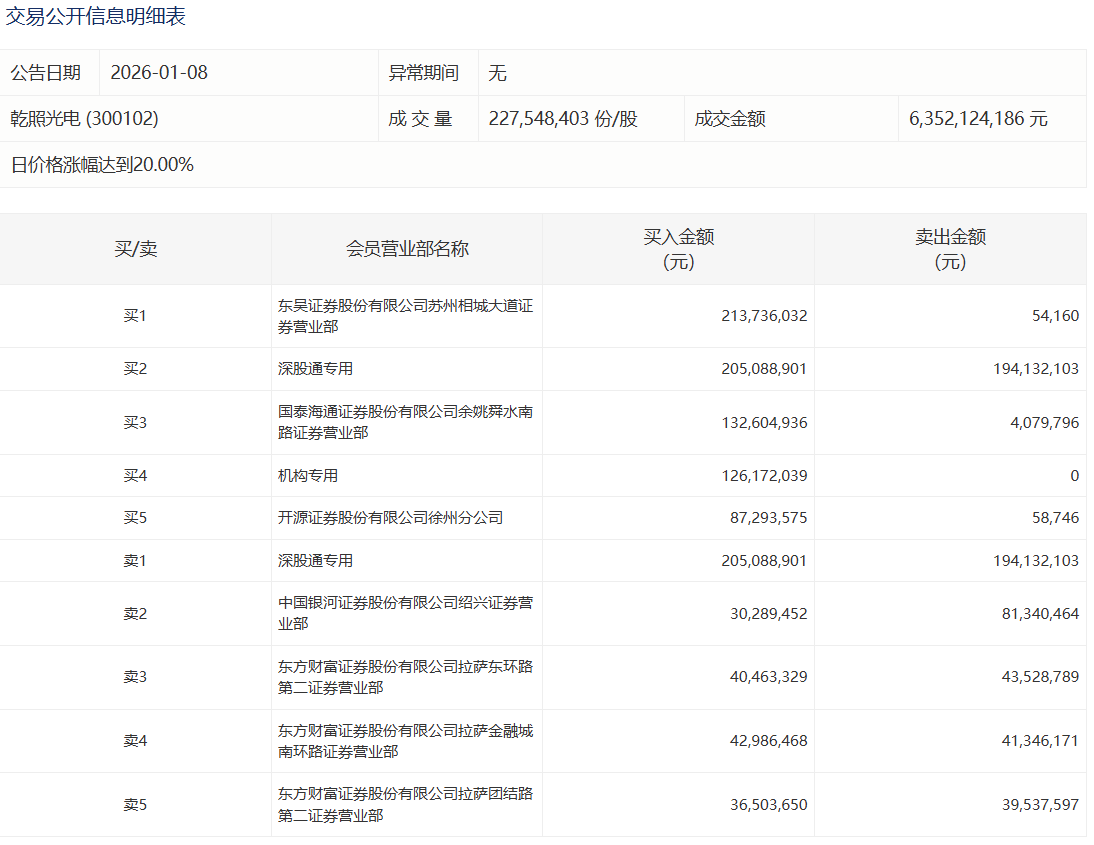
乾照光电今日20%涨停,1家机构专用席位净买入1.26亿元
美好医疗今日20%涨停,有4家机构专用席位净卖出3.71亿元
蓝色光标今日20%涨停,深股通专用席位买入6.71亿元并卖出5.15亿元
天际股份今日涨停,有2家机构专用席位净卖出1.20亿元
三花智控今日涨停,深股通专用席位买入5.54亿元并卖出2.35亿元