
{{aisd}}
AI生成 免责声明
3月18日,白酒板块领涨两市,五粮液、泸州老窖、金种子酒、老白干酒、口子窖、顺鑫农业、古井贡酒、酒鬼酒等多只白酒股涨停,山西汾酒、金徽酒、珠江啤酒、舍得酒业、伊力特等涨幅超7%。
此外,截至收盘,贵州茅台报810.09元,上涨4.22%,总市值近1.02万亿元。

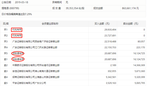
盘后数据显示,2个机构席位合计净买入酒鬼酒5365.82万元,是今日龙虎榜中获机构净买入最多的个股。深股通买入五粮液8.3亿元并卖出11.6亿元,两机构席位卖出2.8亿元。深股通买入泸州老窖2.2亿元并卖出1.4亿元,三机构席位卖出2.63亿元。

机构人士表示,从白酒板块整体看,历史估值中枢在20-25倍区间,目前估值尚处下限,叠加北上资金持续流入,白酒板块估值修复仍有一定空间。
国联证券就指出,2019年以来外资持续流入A股市场,陆港通交易活跃,食品饮料、家用电器等消费板块受到外资青睐,持仓比例持续提升,食品饮料板块中白酒等子板块估值修复明显。外资对于白酒板块的高盈利低估值具有很强的偏好性,同时外资资金的流入驱动国内资金增持基本面良好的酒企标的。
川财证券指出,截至2019年3月15日,食品饮料板块近3年PE平均值为30.1倍,目前PE为29.1倍,估值仍有提升空间,此外,春季酒会的反馈信息将成为影响板块表现的催化剂。白酒方面,受外资布局影响,白酒板块今年以来估值逐渐修复,受MSCI扩容及QFII额度扩容等政策影响,外资增持性价比较高的优质标为大趋势,同时由于外资定价权逐渐提升,国内投资者投资思路或受影响,白酒板块估值有望提升。
渤海证券指出,随着行业基本面预期不断改善及春季糖酒会的正向反馈,估值中枢仍然将大概率上行。长期来看,白酒仍然具有配置价值,建议继续优选提前应对行业变化趋势,品牌优势明显的龙头类个股。
招商证券行业研究指出,从春节及节后反馈来看,白酒2019年行业降速而非失速。高端白酒渡过春节最大考验,贵州茅台率先修复估值,五粮液、泸州老窖仍有空间,次高端降速最多,但全年负增长担忧基本消除,中期仍是扩容空间最大价格带。
| {{item.suffixTags}} | {{ item.stockName }} {{ item.code }} | {{ item.close }} | {{ item.upDownPer }} | {{ item.upDown }} |