职场生成式AI:使用频率、就业冲击和心理健康
人工智能技术的涌现既提升了工作效率,也引发了关于AI替代就业的担忧。
| 上证指数 | 3917.36 |
| 26.92 | 0.69% |
| 深证成指 | 13332.73 |
| 192.52 | 1.47% |
| 科创50 | 1335.25 |
| 26.66 | 2.04% |
| 创业板指 | 3191.98 |
| 69.75 | 2.23% |
| 沪深300 | 4611.62 |
| 43.45 | 0.95% |
| 恒生指数 | 25801.77 |
| 111.24 | 0.43% |
| 标普500指数 | 6875.39 |
| 40.89 | 0.60% |
| 纳斯达克综合指数 | 23441.63 |
| 134.01 | 0.57% |
政府已成立专班介入处理,具体处置方案正在研究中。
以下是第一财经对一些重要公告的汇总,供投资者参考。
长期而言,人民币有望进入“6时代”。
如有异议可请银行核实更正。
年内,财务造假的A股公司接连被处罚,配合造假方同步被罚。
明基医院的跌幅更是创下了2025年以来港股新股首日下跌的最大值。
10个核心城市包括北京、上海、天津、深圳、广州、南京、杭州、武汉、成都、合肥
要进一步强调托位保障、价格合理和质量提升等方面,系统性地纾解民生痛点。
百亿纠葛再度升级。
一些地方财政收支压力较大,专项资金被挪用时常发生










截至2024年末,全国有13个省份高铁运营里程超2000公里。
未来两年或因海外库存、本地化研发及建厂周期等影响进入短暂平台期,2026~2027年受多因素制约,拓宽海外布局仍需1~3年时间。
财政、央行、金融监管总局联手整治地方债风险
积极安全有序发展核电。
为曾经失信的个人提供容错纠正的机会,而非包庇和纵容“老赖”。




2025年12月22日,上海博物馆特展“摩登华影:海派旗袍与百年时尚”启幕。展览汇聚贝洽女士、张信哲及多家机构收藏的近306件/组展品,呈现了海派旗袍的文化积淀、时代演变与设计美学。
【近期回顾】年末多次登上龙虎榜的海南自贸港概念股、商业航天和消费板块,市场热度依然居高不下。A股科技赛道再度爆发,机器人、半导体产业链多股拉升,CPO、先进封装、硅片方向领涨。截至12月22日,A股年内第7只“十倍股”诞生于科技板块,正是市值突破4600亿元大关的光模块巨头300***;同时,人形机器人概念股688***以年内最低价5.83元起步,最高冲至132.10元,区间最大涨幅达2165.87%,成2025年A股最强黑马。《龙虎牛熊》持续追踪板块轮动逻辑,聚焦机构与游资资金流向,挖掘年末行情中的核心投资机会。 【周一复盘】海南自贸、商业航天、半导体三大赛道成资金博弈核心,政策红利 + 行业高景气度双轮驱动,赚钱效应拉满。①商业航天赛道 “多空对决” 激烈! 踩中行业“流水线式生产”转型风口的002***被机构卖出 1.2 亿元的同时获游资“大连黄河路” 9021 万元加仓;300***更是上演机构“互撕”名场面,一边买入 6544 万元一边卖出 6487 万元,游资也跟风卖出 7062 万元,分歧中暗藏机遇。商业航天持续发酵但分歧显现,是机会还是风险?未来这一赛道或诞生10倍股吗?②海南自贸港封关 “大礼包” 正式落地!300***拿下 20CM 涨停斩获四家机构 2.24 亿元抢筹。另一只个股300***盘中涨停,也获游资狂买 9328 万元。海南板块再次点燃涨停潮,封关后哪些方向成最大赢家?③半导体板块靠 AI “起飞”!AI 驱动下 HBM 市场需求暴增,688***国产化产品覆盖全工艺,股价大涨 18% 创历史新高,机构豪掷近 1.7 亿元抄底。值得注意的是,近期半导体、创新药、智能驾驶三大科技赛道正迎来机构密集调研。科技主线回归了吗?哪些细分方向还能潜伏?
特朗普给美国太空军事化定了KPI,美国太空发展局随即抛出35亿美元卫星大单给4家公司,上周五直接引爆美股太空概念股。今天是SpaceX首次成功回收火箭十周年的纪念日,这家有望创造全球最贵IPO的公司估值或高达史无前例的1.5万亿美元,这或将印证该赛道的商业回报潜力。国内方面,从国家队到民营企业全方位突击,不仅新成立商业航天司、推出三年计划,而且头部企业扎堆冲IPO,可回收火箭、海上回收系统也都在赶进度。A股商业航天板块已经红火了一段时间逐渐分化,但你有没有想过,PCB/CPO这些今年绝对吃香的“硬通货”,既是AI算力的香饽饽,也可以是航天组网的必需品,概念叠加的赛道能否如虎添翼?点击付费阅读,解锁完整分析,把握投资的下一个大机会!
机器人租赁平台擎天租正式发布。
①光伏+储能+智能电网+BIPV+钙钛矿电池+锂电池,公司预计2026年储能产品出货量将翻倍;②PCB+CPO+算力+光模块+智能驾驶+AR/VR眼镜,公司已批量生产应用于高算力、高性能计算的PCB产品;③卫星通信+商业航天+基站+北斗定位+星载天线+6G,公司天线产品已实现低轨通信卫星的小批量应用。
尽管多方现实挑战仍存,但上海的国资引领底色仍然鲜明、市场主体的创新活力依然充沛。
中国正在进入一个“底线稳固、上限打开”的新阶段。
12月22日,央行一早重磅发布《关于实施一次性信用修复政策有关安排的通知》。通知明确,对于2020年1月1日至2025年12月31日期间,单笔金额不超过10000元人民币的个人逾期信息,个人于2026年3月31日(含)前足额偿还逾期债务的,金融信用信息基础数据库将不予展示。个人无需申请和操作,“免申即享”,支持信用受损但积极还款的个人高效便捷重塑信用。 这份《通知》被招联首席研究员、上海金融与发展实验室副主任董希淼认为是打破“一朝失信终身受限”困境、改变“破罐子破摔”想法的颇有诚意的举措,对于促进社会包容和谐,提振消费以及改善银行质量都有推进作用。
2025年即将落下帷幕,A股市场也迎来年终盘点时刻。第一财经记者近日来到上海广东路股市沙龙,随机采访了多位股民,了解他们对过去一年A股市场的真实感受与投资总结。从操作风格、关注板块到未来展望,记者发现,尽管投资路径各不相同,但“慢牛”“趋势”“政策”等成为他们口中的高频词。更现场、更财经,一探究竟!
偿付压力实质性推迟至农历春节之后。
2023年,法方估计建造一艘新航母的成本约为100亿欧元。
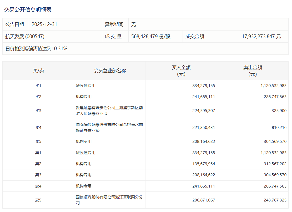
共36只个股出现了机构的身影。
人工智能为求用户留存,正发展出“讨好式”思维模式。
以油箱容量50L的普通私家车计算,今晚过后,车主们加满一箱油将少花6.5元左右。