国际金价下跌,老铺黄金们却越来越贵?|2025消费趋势跟踪
从消费动机看,世界黄金协会调研显示,当前国内消费者购买金饰的核心动机已从传统婚庆、赠礼转向“悦己”
| 上证指数 | 3960.19 |
| -16.33 | -0.41% |
| 深证成指 | 13175.22 |
| -228.84 | -1.71% |
| 科创50 | 1387.24 |
| -13.62 | -0.97% |
| 创业板指 | 3134.09 |
| -62.78 | -1.96% |
| 沪深300 | 4618.70 |
| -34.70 | -0.75% |
| 恒生指数 | 25952.40 |
| -205.96 | -0.79% |
| 标普500指数 | 6771.55 |
| -80.42 | -1.17% |
| 纳斯达克综合指数 | 23348.64 |
| -486.09 | -2.04% |
水贝商家因新税收政策观望并调整黄金价格,导致市场出现大幅波动。
鲍威尔表示,缺乏政府数据导致美联储无法对经济形势进行特别细致的分析。
隐藏式门把手可能带来的安全隐患,引起了全球热议。
生态对于企业来说,究竟是护城河,还是遮羞布?
如何影响投资?
《八项举措》作为全国首个防范“远洋捕捞”式执法的市场监管举措体系,标志着相关制度建设迈出关键一步。
三季报“小作文”打开真心话模式
预计央行将以与买断式逆回购和MLF净投放的配合为主,整体仍保持流动性“不满不溢”,不会形成明显的货币进一步宽松预期。
在平台报税背景下,网店偷税难以持续。
系统厘清AI幻觉成因、评估其风险并构建有效的治理体系,具有现实紧迫性与社会价值。














第八届中国国际进口博览会即将于11月5日在上海拉开帷幕,目前进博会举办地国家会展中心(上海)各项展前工作已准备就绪,静待盛会。其中,进博会未来出行展区的低空飞行器备受关注。2025年11月4日,第一财经记者探秘第八届进博会未来出行展区。
本届广交会现场,意向出口成交256.5亿美元。
新兴市场与绿色贸易成为外贸行业增长的主要引擎。
四季度“债市小牛”行情值得期待
四季度装机淡季,光伏仍依赖产能出清
以下是第一财经对一些重要公告的汇总,供投资者参考。
产品广泛应用于高端制造与专精特新场景,已服务三一机器人、迈赫机器人等客户,并与人形机器人领军企业优必选、智元等深化协同。
①国家卫健委等部门:到2030年基层诊疗智能辅助应用基本实现全覆盖;②微信支付为中小商家推出AI菜单识别功能;③昆仑万维旗下AI视频创作平台SkyReels正式焕新上线。
长三角县级行政区呈现出群雄逐鹿、百舸争流的良好态势,特别是千亿级的县(市、区)表现亮眼,不仅为周边地区提供了强大的带动辐射作用,更为全国区域协同发展提供了经验案例。
让会议更具“深圳特色”,展现基层创新的生命力




2025年11月4日,在第八届进博会主场馆中央广场,一座占地约300平方米的上海馆已准备就绪。今年上海馆的主题是“AI赋能,种草新消费”,通过智能化演绎、场景化展陈、交互式体验、可持续设计,以“人工智能+消费”的方式集中呈现国际消费中心城市建设的创新成果。
近期有报告显示影石全景相机市占率骤降,影石虽未明确市占率数据是否错误,但回应“准确性无法验证”。
平安银行、光大银行、华夏银行、浙商银行4家营收净利“双降”。
冰雪旅游季带来文旅商机。
从消费动机看,世界黄金协会调研显示,当前国内消费者购买金饰的核心动机已从传统婚庆、赠礼转向“悦己”
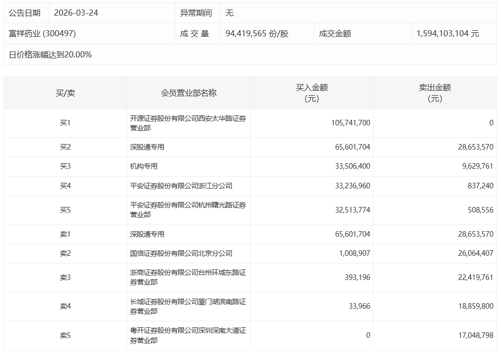
又一只妖股?
“未来,中国(上海)证券期货仲裁中心将尽快推出证券期货仲裁规则及相关配套指引。”
倪军表示,工业产业仍有庞大的人才需求,尤其需要具备基础科学知识和数字化能力的复合型人才。
港股IPO定价22港元,相比A股收盘折价32%。
共37只个股出现了机构的身影。